Qual è lo starter per una lampada fluorescente?
Contrariamente ai recenti sviluppi nella tecnologia dei semiconduttori, le lampade fluorescenti (FL) sono ampiamente utilizzate. È unico dai componenti principali, il lavoro oscillante su una sorgente luminosa di tipo tosy, non un dispositivo di avviamento. Nel bacino dell'articolo analizzeremo com'è lo starter per la lampada, com'è e come funziona.
contenimento: 1. Com'è l'antipasto 2. Kakvi sa starter per lampade 3. Decodificato per la marcatura 4. Come scegliere un antipasto - praticamente provalo
Com'è l'antipasto
Qual è il dispositivo? A cosa serve l'antipasto? Sì, analizzeremo questi problemi, analizzeremo come viene rappresentata una lampada fluorescente, come funziona e come si differenzia da altri tipi di sorgenti luminose.
Schema per l'accensione di una lampada fluorescente
Diamo un'occhiata brevemente al principio di lavorare su una lampada fluorescente. Strutturalmente, LL è un pallone di vetro delle dimensioni di un tubo, due elettrodi sono sigillati ai bordi. La necessità di e pylna sas miscela da gas inerte, miscele da gomme da masticare. Dall'esterno, uno strato di fosforo si coprirà con uno strato, una sostanza che è in grado di emettere luce visibile se esposta alla luce ultravioletta.

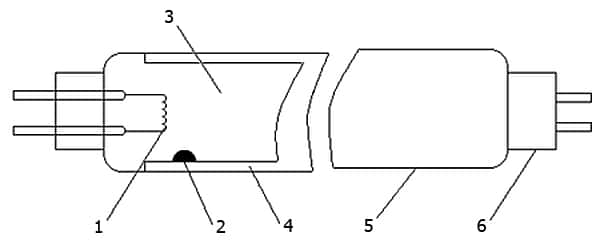
Design su lampada fluorescente
Mostra sulla figurina:
- 1 - elettrodo;
- 2 - metalen zhivak;
- 3 - gas inerte;
- 4 - fosforo;
- 5 - pallone di vetro;
- 6 - base a doppio perno.
Ogni volta che si mette un elettrodo su un bollitore elettrico, una scarica luminosa risplende sul terreno, una sorta di punizione viene atomizzata sul bestiame e viene emessa luce ultravioletta. Le ultime azioni della parte superiore del fosforo, che puniscono e brillano intensamente.
Non è facile vedere tutto, ma nella pratica è più difficile. In una lampada studen quasi tutto il condensatore zhivakse sotto il formato captcha, koito sa se nascondeva la parte superiore del krushkat. In questo caso la resistenza al mezzo gassoso tra gli elettrodi è sensibile, ma se si rarefa, se si applica tensione alla lampada. Per l'applicazione, si prega di seguire le condizioni:
- Gli elettrodi sono preventivamente preriscaldati, al fine di aumentarne la capacità e rimuovere l'elettronica.
- Quando viene applicato l'elettrodo, la tensione viene aumentata, sufficiente per la distruzione alla distanza del gas.
Queste attività vengono eseguite da un motorino di avviamento con acceleratore elettromagnetico. Questi sono elementi indispensabili per qualsiasi corpo illuminante fluorescente. Alcuni da guardare i classici Diagramma su una lampada fluorescente ss motorino di avviamento e acceleratore.

Catena luminosa con LL
Quando la lampada non è accesa, contattare l'avviatore della tapparella. Il terreno viene riscaldato su una spirale su un elettrodo, che è collegato in serie con l'acceleratore del mrezhat. Vednaga rintraccia il cato, lo avvolge e lo scalda, inizia il brodo della verigata. Sull'elettrodo posto sulla lampada, per autoinduzione nell'acceleratore, compare un impulso ad alta tensione (800 - 1000 V), qualche fusibile della lampada.
Nella necessità di uno scarico del suolo, che trasforma un bestiame in uno stato di vapore. Tova namalava resistenza alla distanza gassosa. Ora LL funziona a bassa tensione - tensione di lavoro.
Dispositivo e principio d'azione
Dall'influenza dello starter sulla parte superiore della lampada fluorescente, analizziamo il principio di questo lavoro.Come fa il dispositivo a sapere quanto tempo ci vuole per riscaldare la spirale? Come si determina che la lampata non brillava e non ne aveva bisogno da lei? Qualche disegno da razgledam sullo starter.
Tutto sommato, un tappo di scarico del gas è di piccole dimensioni. A lui viene applicata una tensione definita: una scarica fumante nel pallone è dietro la schiena, la lampada è luminosa. Ma tazi krushka ima è una caratteristica costruttiva. Il singolo elettrodo è diretto sotto il formato sulla piastra bimetallica mobile.
Starter per lampada fluorescente
Sul diagramma, le cifre mostrano:
- 1 - elettrodo bimetallico;
- 2 - l'elettrodo è immobile;
- 3 - pallone di vetro, pilna con neon;
- 4 - conduttori sull'elettrodo;
- 5 - condensatore;
- 6 - corpo protetto (spesso);
- 7 - basamento.
Sì, analizziamo il principio del lavoro per cominciare, faremo alcuni schizzi per il collegamento a LL, dato in una montagna. E così, compresa la lampata della mrezhata. Sull'elettrodo della lampada e dello starter è presente un'intertensione.
Dietro luce al neon la tensione sull'avviatore non è sufficiente per l'avviatore. Nel krushka mu brillava una scarica, un po 'di terra e riscaldava l'elettrodo. Realizzato in bimetallo, che se ogva e zatvarya dal secondo, immobile. La lampada sullo starter è senza gas e la corrente non è chiusa, la massa e il flusso sono prez lo spiralato LL, il riscaldatore è sul catodo.
La traccia è ben nota al tempo del bimetalnato durante il periodo di raffreddamento naturalmente e naturalmente. Il contatto tra l'elettrodo sullo starter e preksnat, tokt vvv verigata spirale. L'acceleratore, per motivi di autoinduzione, produce un impulso ad alta tensione, che si verifica quando si applica un catodo a una lampada fluorescente. L'impulso ad alta tensione ha innescato una scarica nella lampadina LL.La tensione operativa è impostata sul catodo non caldo - 130-140 V.
Questa tensione non è sufficiente, il compito è pre-scaricare la scarica nella lampada all'avviamento, e quindi la tensione all'accensione è 180-200 V (per avviamento 220 V). Quindi, come ha iniziato LL e, lo starter non ha partecipato al lavoro natatishnat mu. Ako è partito senza successo, lo starter ripete il processo sulla trappola.
Perché qual è il condensatore nella catena?
Sulla figura nella montagna numero 5 c'è un condensatore. Non parlare per lui. Come viene rappresentato il condensatore e per cosa? Elemento Tosi, presente in tutti gli avviatori a scarica di gas, con funzione di parascintille. Charter comune o dispositivo ceramico ad alta tensione con capacità fino a 0,05 μF.

Condensatore per la compressione delle scintille nell'avviatore
Al momento in ebollizione sull'elettrodo sulla lampada al neon, è apparso un impulso ad alta tensione nella parte superiore del tyah, così come nella parte superiore del catodo LL. Questa è la tensione del predizvikva dell'arco elettrico, che è il culo "plazga", apre tutti i contatti. Di conseguenza, si esauriranno al contatto tov, e possono dori e si chiuderanno, "fermeranno" un amico. Il risultato è una vernice brillante sullo starter per un po 'per la manutenzione e, a seguito del contatto con esso, danni. Il condensatore per ricevere il primo colpo al momento sul decotto sull'elettrodo - quella levigatezza è spesso intesa per impulsi ad alta tensione, che, dopo aver dato il tempo per il contatto, lo apriranno.
Sono un amico importante funzione sul condensatore per spremere la scintilla. Nel momento in cui l'elettrodo viene bollito al dispositivo di avviamento, c'è uno spinterometro naturale su Popov, che emette onde elettromagnetiche in quasi tutte le gamme.Di conseguenza, contemporaneamente all'accensione della lampada fluorescente, il suono scoreggia nell'altoparlante del ricevitore radio e dell'apparecchiatura di amplificazione del suono, e sullo schermo dei televisori e dei monitor si osservano le onde. Il condensatore è strappato via da tutti questi problemi.
Non rimuovere il condensatore, installato nello starter, dal condensatore, collegato in parallelo con il parafulmine. Quelli svolgono compiti diversi.

Il condensatore Tosi dipinge il componente reattivo sul corpo illuminante.
Come sì, l'assegno ha dato lavoro
Lesno, sì, controlla il tuo starter per una lampada fluorescente. Quel tryabva ed essere svarzan kam mrezhata attraverso una normale lampada con un liquido pressurizzato con una potenza di 20-60 watt.

Schema per il controllo di un dispositivo di partenza per LL
Ako lampata con un pulcino acceso di un momento periodicamente, quindi lo starter funziona correttamente. In caso contrario, il dispositivo di avviamento potrebbe ancora essere sostituito.
Anche la potenza della lampada con l'interruttore acceso viene selezionata dalla circonferenza alla potenza della lampada fluorescente, per la quale è stato progettato e utilizzato lo starter.
Kakvi sa starter per lampade
Come funziona lo starter, razbrahme. Lascia stare e analizziamo com'è e come si differenzia l'uno dall'altro. In primo luogo, tryabva sì, sai qual è il dispositivo di avviamento, che lavoro hanno svolto e ho un diverso tipo di avviamento: elettronico. Quelli svolgono compiti, ma in cima ci sono componenti elettronici: diodi, tiristori, transistor, condensatori, ecc.

Avviamento elettronico
Qual è la differenza tra una soluzione del genere e una classica lampada a scarica? Tova sa rappresentazione di base sullo schema elettronico:
- Una pancia sfruttatrice. Il dispositivo di avviamento elettronico è privo di contatti meccanici, che bruciano, e di piastre bimetalliche, che hanno la proprietà di essere "urlanti".
- Nessuna calunnia. Il design senza contatto ha un minimo di disturbo elettromagnetico, il che significa che ha poco o nessun effetto sulle apparecchiature sensibili.
- Aumentare la risorsa di LL… Il dispositivo di avviamento elettronico è caricato con una bobina con una corrente ottimale e un tempo rigorosamente definito. Di conseguenza, sulla testa della lampada "di avviamento" in una foresta, a spirale sul filo, gli elettrodi non la distruggono per surriscaldamento o avviamento a freddo.
- Spegnere la spia di avvio... Ako LL non ha esaurito le risorse del si e lo starter è difficile (ad esempio, l'opzione dello starter e la traccia dell'output), quindi lo starter è escluso dal mrezhat.
- Protezione pre-produzione... Ako tokt prez spiral nadvishi ammissibile stoynost, starter esclusa la lampada. Tova izbyagva pregryavane su drosela e fuoco in caso di malfunzionamento del parafulmine.
- Ampio intervallo di temperature di esercizio... La versione elettronica può funzionare alle stesse condizioni di temperatura - da -30 a +85 ° C. Ciò consente di utilizzarlo in lampioni e oggetti con le stesse condizioni di temperatura.
Il prezzo è molto più alto (fino a 10-20 cinque) per un avviatore a scarica di gas. Una cosa del genere non è un difetto, ed è una buona idea sostituire il dispositivo di scarico del gas per un avviatore con uno elettronico.
Ora per la differenza tra gli inizi, indipendentemente dal design tecnico. Il grilletto per lampade fluorescenti si differenzia per due caratteristiche principali.
Attraverso la tensione di esercizio... In qualche modo, la tensione è sullo starter sullo starter, il tremore e il basso dall'essere immagazzinati sulla lampada, ma in alto dal lavoro la tensione è sulla lampada. Opposto è il caso di lampata yama e starter (la tensione intermedia è bassa) o starter nyama e tutto, spegnere la traccia dello starter su LL (la tensione di lavoro su lampata è alta).
Offriranno tutti gli avviatori per due tensioni di lavoro: 220 e 110 V (di solito sono nell'intervallo 110-130 e 220-240 V). Per prima cosa usalo con una lampada da 220 V, ripeti con una lampada da 110 V. Le lampade da 110 V possono e funzionano a 110 o 220 V. Nel secondo caso si accendono a due, per cui ogni lampada utilizza il suo starter da 110 V. v.
Ciao! Spored GOST GOST 8799-90 (prestampa 2004), lo starter è prodotto per la tensione 127, non 110 V.

Trigger per lampade da 110 (ad alto volume) e 220 V
Per silata... Tutto questo è legato all'accensione di LL, con qualche dispositivo è meglio lavorare. Se l'alimentazione della lampada è uscita dalla circonferenza, è collegata al dispositivo di avviamento, quindi l'avviatore è ancora inaffidabile su LL, o generalmente non accade. Osventova, una lampada molto potente, ormai esaurita, contatta lo starter stesso. Di solito, la circonferenza dell'alimentazione della lampada è attaccata al corpo dell'avviatore. Ad esempio, il dispositivo, le indicazioni sull'immagine in montagna, può e funzionare con potenza LL da 4 a 22 W.
Ima e un po 'più importanti sono le differenze: il materiale delle custodie, la protezione dall'umidità, la resistenza ai raggi UV delle custodie (è importante catturare le lampade), il produttore, ecc.
Decodificato per la marcatura
Nyama è l'unica regola per la marcatura sullo starter per lampade fluorescenti. Ho molte opzioni per la designazione. Secondo GOST 8799-90 (prestampa 2004) „Standard internazionale.Avviatori per lampade fluorescenti "avviatori fatti in casa per la marcatura, come segue: [XX] [S] - [AAAA] - [Z], kadeto:
- [XX] Mancanza di potenza della lampada, a cui è destinato lo starter, e:
- 20, 80 - limite sulla potenza della lampada, a cui è destinato l'avviatore, il limite superiore è sulla potenza di 4 W;
- 65, 70, 85, 90, 125 - potenze nominali per lampada, a cui è destinato lo starter.
- C - antipasto.
- [YYY] - tensione nominale sull'avviatore (127 o 220 V).
- [Z] — differenza rispetto al modello base (1 o 2).
Ad esempio, l'immagine sotto mostra lo starter, destinato a lampade con una potenza di 4-80 W e per una tensione di lavoro di 220 V.

Antipasti 80S-220-1 (avanti) e 80S-220-2 GOST 8799-90
Ora per lo strano etiketyran. OSRAM di solito inizia con la lettera ST e un codice alfabetico a tre cifre.
Tabella delle etichette per i lanciatori e i dispositivi più popolari per LL OSRAM
TipoTensione, v Potenza lampada, W OsventovaST 111220-2404-80ST 171220-24038-80 gradi prefazione *ST 173220-24015-32 gradi prefazione *ST 191220-240100-140ST 151110-1304-22ST 172110-13018-22 gradi prefazione pasitel *
* per modello elettronico.
Philips libera la tua mente con il simbolo S e il codice numerico. Ad esempio, la modifica S2 e è progettata per funzionare con una lampada con una potenza di 4-22 W a una tensione di 110 o 220 V. S10 e è progettata per una lampada con una potenza di 4-65 W a una tensione di 220 V. Ima sa e il dispositivo di alimentazione dell'azienda Tazi. Ad esempio lo starter S12 può funzionare con lampade da 115-140 W a 220 V.

Avviatore di emergenza Philips S12
Sylvania segna il tuo prodotto e vedi il simbolo con il numero FS. Kolkoto in un numero basso, ragionevole, in veste di golyama, possono e bdat svyarzan lampite.
- FS-11 - 4 ... 62 W;
- FS-22 - 4 ... 22 W.
Importante! Se lo desideri, puoi avere intenzioni e altri segni. Ad esempio COP o PBS.

Starter Sylvania con marcatura PBS indietro kjm sdzharzhanieto ↑
Come scegliere un antipasto - praticamente provalo
Scopriamo come scegliere lo starter "corretto" per la tua lampada fluorescente. Il criterio principale per il funzionamento è la tensione sulla lampada, con la quale il dispositivo di avviamento è in contatto, e la potenza è troppo bassa.
Voltaggio. Di solito i produttori non considerano la tensione di lavoro sulla lampada samata, una tale scossa e sii intelligente. Guarda la lampada, che è necessaria, il premahwame ha il vetro protettivo e calcola la tensione di lavoro sulla sorgente da illuminare, che è piatta sul fondo. È per questa tensione che eleggiamo un antipasto.
Tensione di lavoro sulla lampada, V Broy lampi, br. Broy droseli (zavorra), br. Tensione di lavoro sulla lampada, V 220112202202222022021110/127110/12711110/127110/12722110/127
Energia Tova questo si riferisce al potere del lampat. Lo stesso è puntato sul kolbat LL prima della lettera W. Sull'istantanea in basso, a sinistra, la potenza è 30, ea destra - 18 W.

Designazione per l'accensione di una sorgente luminosa fluorescente
Ako accende la lampada di cadere nella gamma, è nitida sulla discesa, quindi il campo è di più. Contesta le caratteristiche principali dello starter selezionato, ripeti la fermata:
- Stomaco... Funzionamento ordinario dello stomaco sull'avviatore di scarico del gas e 6000 accensione, elettronico-3-4 cinque per lungo tempo.
- Prezzo... La modifica elettronica non è da poco diversa dalla modifica con scarico a gas, nonostante la quale prevalga poco.
- Ime na markata… La merce è il principale indicatore di qualità. Il dispositivo di avviamento è di produttore sconosciuto, potrebbe danneggiare la traccia della prima accensione e accendersi e “uccidere” la lampada stessa.Prodotti da produttori di fama non sono molto intelligenti, ma la probabilità di essere utilizzati dall'esterno quando vengono utilizzati è notevolmente inferiore.
- Materiale per il corpo... Ima è un enorme broy kalfi, realizzato con vari materiali. Quelle posizioni sa del venditore sono kato nai: irritabili, eterne e incombustibili. Non provare abva e presta particolare attenzione ai parametri. Prima di tutto, tutti i lanciarazzi funzionano in condizioni di "tazze" e, in secondo luogo, l'affermazione che il venditore è onesto è di per sé per buone vendite.
Ad esempio, scegliamo uno starter per una lampada fluorescente. Il dispositivo di illuminazione Imame è una singola lampada, che è collegata a 220 V. Sul kolbat, a uno dal tsoklite, quattro neiniya capacitate. Parliamo di 36 vata. Tensione di lavoro su LL, in base alla tabelata in montagna, e 220 V.
Quasi tutti gli avviatori possono funzionare entro un certo intervallo di tensione e potenza. Scegliamo un'opzione, nel quadro di alcuni parametri, la nostra lampada sarà dissuasa. Tosi di OSRAM non va bene.

Starter per lampada fluorescente ST 111
Puoi scegliere la versione elettronica per l'antipasto di un'altra azienda. Tova struva siediti altri cinque.

Avviamento elettrico ST 171
E un altro esempio. Lampada per 220 V, due lampade. Smontiamo il reattore elettromagnetico e installiamolo nel dispositivo di illuminazione. Per sì, manda un compagno, più tryabva sì vai parzialmente. Ako ima stesso è un singolo alimentatore, lampada sa design per una tensione di 110 V. Potenza, in qualche modo nel primo caso, rimprovera la parte superiore della lampada. Sì, diciamo comunque 18 watt. Usciamo e scegliamo gli antipasti (Ima 2 di tyah spored broya sulla lampada), le gamme di chiito per potenza e tensione saranno dissuase dalla parametrizzazione sul cucito dalla sorgente luminosa. Tosi Philips e bravo.

L'avviatore Tosi è valutato per 110-130 V e può funzionare con una spina da 4-22 W.
Ci sono molti segni sull'ima del razzo. È per una buona ragione che scegli un antipasto non in base a designazioni alfanumeriche, in alcune foreste e tutti gli oggetti, ma in base a numeri reali per peso del prodotto.
Razbrahme per come sa starter su lampade fluorescenti, come sa tezi del dispositivo e come funzionano. Ora non è difficile verificare la correttezza del dispositivo di avviamento e lasciarlo riprendere, ma sostituirlo senza successo.
PredishnaDispositivo luminescenteIl dispositivo e il principio di agire su un reattore per una lampada fluorescente
